Oggi è lunedì 20 aprile 2026, 13:21

Tutti gli orari sono UTC + 1 ora [ ora legale ]




Apri un nuovo argomento Rispondi all’argomento  [ 81 messaggi ]  Vai alla pagina 1, 2, 3, 4, 5, 6  Prossimo
Autore Messaggio
 Oggetto del messaggio: Catenaria e sezionamenti
MessaggioInviato: sabato 21 febbraio 2015, 21:10 
Non connesso

Iscritto il: domenica 2 dicembre 2007, 11:43
Messaggi: 2262
Località: Catanzaro
Salve a tutti,
Sto cercando di riprodurre sul mio plastico la catenaria nel modo più realistico possibile. La cosa che al momento ignoro sono quando viene utilizzato il doppio filo di contatto ed i pali con i sezionatori dove vengono posizionati in stazione.

Saluti

Luigi


Top
 Profilo  
 
 Oggetto del messaggio: Re: Catenaria e sezionamenti
MessaggioInviato: domenica 22 febbraio 2015, 19:39 
Non connesso

Iscritto il: venerdì 3 febbraio 2006, 13:31
Messaggi: 1766
Località: Roma
La conduttura di contatto in piena linea per le linee in c.c. 3kv è costituita da una corda portante di 120mmq è uno o due conduttori in rame sagomato da 100mmq per il contatto con il pantografo del locomotore.
L'uso di uno o due conduttori dipende dai seguenti elementi:
a) tensione di alimentazione;
b) andamento planimetrico della tratta;
c) tipi di locomotori destinati ad essere usati;
d) peso dei convogli da trainare e loro velocità;
e) minima distanza fra i convogli;
f) caduta di tensione media e quella massima ammessa per brevi periodi, in particolare
durante gli avviamenti.
I dati "b", "c" e "d" sono quelli che determinano quanta corrente viene assorbita dalla linea e che stabiliscono l'uso di uno o di due conduttori di contatto.
Il posizionamento dei sezionatori, nelle stazioni di solito viene fatto sui pali della sospensione della linea di contatto, e dipende se in questa è presente una SSE o no. Cambiano i circuiti elettrici.

Giancarlo


Top
 Profilo  
 
 Oggetto del messaggio: Catenaria e sezionamenti
MessaggioInviato: domenica 22 febbraio 2015, 20:12 
Non connesso

Iscritto il: domenica 2 dicembre 2007, 11:43
Messaggi: 2262
Località: Catanzaro
Per i sezionatori esiste quindi una determinata regolamentazione? Non si pongono su pali a caso!?

Sul doppio filo di contatto notavo che in stazione alcuni binari hanno il doppio filo di contatto ed altri no? Si tratta dei binari con la più alta frequentazione di treni?


Top
 Profilo  
 
 Oggetto del messaggio: Re: Catenaria e sezionamenti
MessaggioInviato: domenica 22 febbraio 2015, 20:37 
Non connesso

Iscritto il: venerdì 3 febbraio 2006, 13:31
Messaggi: 1766
Località: Roma
The Dark Master ha scritto:
Per i sezionatori esiste quindi una determinata regolamentazione? Non si pongono su pali a caso!?

Sul doppio filo di contatto notavo che in stazione alcuni binari hanno il doppio filo di contatto ed altri no? Si tratta dei binari con la più alta frequentazione di treni?

Come ho detto, i sezionatori vengono messi per isolare tratti dei circuiti elettrici di trazione a seconda se la stazione è o no sede di SSE. Cambia la loro disposizione se i circuiti elettrici sono per una linea solo passante o se viene alimentata. Non vengono messi a caso.
Nelle stazioni il doppio filo, se è necessario, di solito viene messo sul corretto tracciato dove i treni transitano con o senza fermata, ma non è detto che anche sui binari di precedenza o di sosta questo non avvenga, dipende sempre da quegli elementi che ho menzionato nella risposta precedente.

Giancarlo


Top
 Profilo  
 
 Oggetto del messaggio: Re: Catenaria e sezionamenti
MessaggioInviato: domenica 22 febbraio 2015, 21:16 
Non connesso

Iscritto il: domenica 2 dicembre 2007, 11:43
Messaggi: 2262
Località: Catanzaro
Ok grazie Giancarlo.


Top
 Profilo  
 
 Oggetto del messaggio: Re: Catenaria e sezionamenti
MessaggioInviato: lunedì 23 febbraio 2015, 17:37 
Non connesso

Iscritto il: giovedì 21 giugno 2012, 14:23
Messaggi: 3793
Località: Massa Finalese (MO)
Esistono apposite norme ed appositi schemi standard che regolano la posizione dei sezionamenti...


Top
 Profilo  
 
 Oggetto del messaggio: Re: Catenaria e sezionamenti
MessaggioInviato: martedì 24 febbraio 2015, 20:17 
Non connesso

Iscritto il: venerdì 3 febbraio 2006, 13:31
Messaggi: 1766
Località: Roma
Se ti può essere di aiuto, inserisco alcuni classici schemi elettrici degli impianti presenti in vari tipi di stazioni.
Stazione su una linea a semplice binario con un binario di incrocio e scalo merci e piano di carico. Alimentata mediante una linea elettrica separata.
Allegato:
stazione linea a un binario-PC e MM con alimentatore-1.gif
stazione linea a un binario-PC e MM con alimentatore-1.gif [ 7.07 KiB | Osservato 12184 volte ]

Stazione su linea a doppio binario con due binari di precedenza e magazzino merci.
Allegato:
stazione con MM.gif
stazione con MM.gif [ 15.71 KiB | Osservato 12269 volte ]


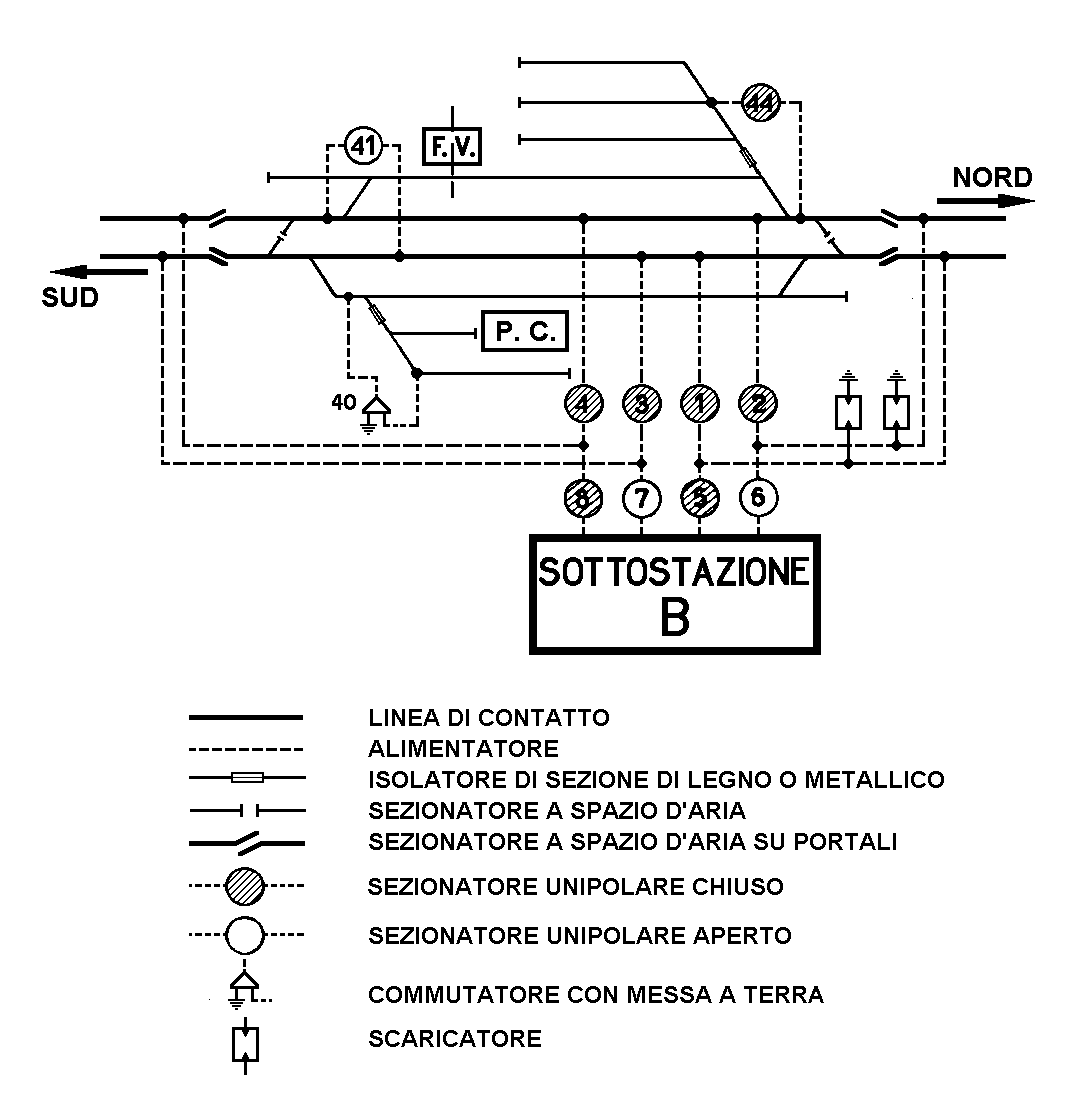
Stazione su linea a doppio binario alimentata da SSE, con binari di precedenza e sosta. Binari per magazzino merci e rimessa locomotive.
Allegato:
stazione con MM-RL+SSE.gif
stazione con MM-RL+SSE.gif [ 23.41 KiB | Osservato 12269 volte ]


Stazione su linea a doppio binario alimentata da SSE, con binari di precedenza, di sosta e binari per piano di carico.
Allegato:
stazione con PC+SSE.gif
stazione con PC+SSE.gif [ 18.98 KiB | Osservato 12269 volte ]


Ultima modifica di Giancarlo Giacobbo il mercoledì 25 febbraio 2015, 18:25, modificato 2 volte in totale.

Top
 Profilo  
 
 Oggetto del messaggio: Re: Catenaria e sezionamenti
MessaggioInviato: martedì 24 febbraio 2015, 20:19 
Non connesso

Iscritto il: domenica 2 dicembre 2007, 11:43
Messaggi: 2262
Località: Catanzaro
Fantastico era quello che cercavo inerente alla sezionatura, grazie Giancarlo.


Top
 Profilo  
 
 Oggetto del messaggio: Re: Catenaria e sezionamenti
MessaggioInviato: martedì 24 febbraio 2015, 20:23 
Non connesso

Iscritto il: venerdì 3 febbraio 2006, 13:31
Messaggi: 1766
Località: Roma
Per la recisione disegni sono stati tratti da "TRAZIONE ELETTRICA" edito dal CIFI 1964
Giancarlo


Top
 Profilo  
 
 Oggetto del messaggio: Re: Catenaria e sezionamenti
MessaggioInviato: mercoledì 25 febbraio 2015, 15:49 
Non connesso

Iscritto il: mercoledì 20 febbraio 2008, 11:22
Messaggi: 1188
Località: trento
anche per la TE valgono le epoche.....
gli schemi inseriti valgono per il passato.... oggi (a partire dagli 80/90 con numerosi anni di convivenza...) gli schemi sono differenti....
pietro


Top
 Profilo  
 
 Oggetto del messaggio: Re: Catenaria e sezionamenti
MessaggioInviato: mercoledì 25 febbraio 2015, 18:10 
Non connesso

Iscritto il: venerdì 3 febbraio 2006, 13:31
Messaggi: 1766
Località: Roma
Pietro, di sicuro nel tempo i simboli e gli apparati elettrici saranno cambiati, non per questo ho indicato l'anno di edizione del libro, ma non credo che dal punto di vista della logica impiantistica le cose siano cambiate di molto.


Top
 Profilo  
 
 Oggetto del messaggio: Re: Catenaria e sezionamenti
MessaggioInviato: mercoledì 25 febbraio 2015, 19:39 
Non connesso

Iscritto il: mercoledì 20 febbraio 2008, 11:22
Messaggi: 1188
Località: trento
del tutto e nella sostanza
pietro


Top
 Profilo  
 
 Oggetto del messaggio: Re: Catenaria e sezionamenti
MessaggioInviato: giovedì 26 febbraio 2015, 1:05 
Non connesso

Iscritto il: venerdì 3 febbraio 2006, 13:31
Messaggi: 1766
Località: Roma
Sarebbe interessante conoscere le novità.


Top
 Profilo  
 
 Oggetto del messaggio: Re: Catenaria e sezionamenti
MessaggioInviato: giovedì 26 febbraio 2015, 21:19 
Non connesso

Iscritto il: mercoledì 20 febbraio 2008, 11:22
Messaggi: 1188
Località: trento
Allegato:
F5_2.GIF
F5_2.GIF [ 4.51 KiB | Osservato 12107 volte ]

schemi in uso dai primi anni 80 (1982/83) ed ormai diffusi ed abituali, riporto la versione per linee banalizzate con "emisezionamento"(sezionamento intermedio in stazione)
Allegato:
F4_10.GIF
F4_10.GIF [ 4.04 KiB | Osservato 12107 volte ]

Allegato:
F4_6.GIF
F4_6.GIF [ 4.02 KiB | Osservato 12107 volte ]

per applicazione in grande impianto si veda ad esempio qui
http://www.va.minambiente.it/it-IT/Oggetti/MetadatoDocumento/127004
appena ho un poco di tempo approfondisco
pietro


Top
 Profilo  
 
 Oggetto del messaggio: Re: Catenaria e sezionamenti
MessaggioInviato: venerdì 27 febbraio 2015, 9:51 
Non connesso

Iscritto il: mercoledì 20 febbraio 2008, 11:22
Messaggi: 1188
Località: trento
ulteriore schema
Allegato:
sse.jpg
sse.jpg [ 91.67 KiB | Osservato 12080 volte ]


Top
 Profilo  
 
Visualizza ultimi messaggi:  Ordina per  
Apri un nuovo argomento Rispondi all’argomento  [ 81 messaggi ]  Vai alla pagina 1, 2, 3, 4, 5, 6  Prossimo

Tutti gli orari sono UTC + 1 ora [ ora legale ]


Chi c’è in linea

Visitano il forum: Nessuno e 21 ospiti


Non puoi aprire nuovi argomenti
Non puoi rispondere negli argomenti
Non puoi modificare i tuoi messaggi
Non puoi cancellare i tuoi messaggi
Non puoi inviare allegati

Cerca per:
Vai a:  
banner_piko

Duegi Editrice - Via Stazione 10, 35031 Abano Terme (PD). Italy - Tel. 049.711.363 - Fax 049.862.60.77 - duegi@duegieditrice.it - shop@duegieditrice.it
Direttore editoriale: Luigi Cantamessa - Amministratore unico: Federico Mogioni - Direttore responsabile: Pietro Fattori.
Registro Operatori della Comunicazione n° 37957. Partita iva IT 05448560283 Tutti i diritti riservati Duegi Editrice Srl