Oggi è sabato 27 dicembre 2025, 0:50

Tutti gli orari sono UTC + 1 ora [ ora legale ]




Apri un nuovo argomento Rispondi all’argomento  [ 21 messaggi ]  Vai alla pagina 1, 2  Prossimo
Autore Messaggio
 Oggetto del messaggio: Traverse in ferro
MessaggioInviato: domenica 3 marzo 2013, 18:26 
Non connesso

Iscritto il: mercoledì 5 aprile 2006, 16:11
Messaggi: 4987
Località: Pistoia
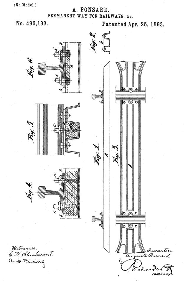
Qualcuno ricorda l'uso di traverse in ferro come quelle del disegno? Io le ricordo in Valdibrana, sulla porrettana mezzo secolo fa circa. Qualcuno sa dire se erano di uso frequente?


Allegati:
13138_10200103192956086_165135146_n.jpg
13138_10200103192956086_165135146_n.jpg [ 66.9 KiB | Osservato 8174 volte ]
Top
 Profilo  
 
 Oggetto del messaggio: Re: Traverse in ferro
MessaggioInviato: domenica 3 marzo 2013, 19:50 
Non connesso

Iscritto il: sabato 11 febbraio 2006, 21:15
Messaggi: 285
le ferrovie svizzere le usavano negli anni 60-70 di frequente
Immagine


Top
 Profilo  
 
 Oggetto del messaggio: Re: Traverse in ferro
MessaggioInviato: lunedì 4 marzo 2013, 11:03 
Non connesso

Iscritto il: lunedì 16 gennaio 2006, 17:07
Messaggi: 921
Località: Viareggio
Da quello che so io, l'uso delle traverse in metallo, in italia sulla rete FS non era frequente, in genere si trovavano sulle linee dei territori ex austriaci o nei depositi locomotive in qualche binario di servizio. A tal proposito ricordo che in Deposito a Livorno in sede di installazione della gru a portale per il carico/scarico delle sale montate demolirono due binari che erano di fianco alla rimessina (lato binario) di corsa e che questi erano armati con traverse metalliche e rotaie tipo RA 36S, vennero poi ricostruiti con rotaie tipo 50 Uni su traverse in cemento armato.
Carlo Pezzini


Top
 Profilo  
 
 Oggetto del messaggio: Re: Traverse in ferro
MessaggioInviato: lunedì 4 marzo 2013, 17:42 
Non connesso

Iscritto il: martedì 17 gennaio 2006, 18:26
Messaggi: 1382
Località: Friuli Venezia Giulia
Forse può interessare questo riutilizzo delle traverse in ferro come per "contenere" la massicciata.
Foto scattate lungo la Ferrovia Istriana presso la stazione di Podgorje in Slovenia nel 2007, ma l'anno scorso erano ancora là
NB: la seconda foto è capovolta per far leggere le scritte


Allegati:
2.jpg
2.jpg [ 175.87 KiB | Osservato 8039 volte ]
1.jpg
1.jpg [ 188.95 KiB | Osservato 8039 volte ]
Top
 Profilo  
 
 Oggetto del messaggio: Re: Traverse in ferro
MessaggioInviato: lunedì 4 marzo 2013, 18:03 
Non connesso

Iscritto il: sabato 14 gennaio 2006, 11:24
Messaggi: 905
Località: Ravenna
Anche sulla Faentina nel tratto di valico vennero usate in sede di ricostruzione postbellica. Mi pare di averne viste anche in qualche binario secondario a Bologna S. Donato.


Top
 Profilo  
 
 Oggetto del messaggio: Re: Traverse in ferro
MessaggioInviato: lunedì 4 marzo 2013, 20:49 
Non connesso

Iscritto il: martedì 27 giugno 2006, 17:48
Messaggi: 1777
Località: Granducato di Toscana
adria express ha scritto:
Anche sulla Faentina nel tratto di valico vennero usate in sede di ricostruzione postbellica.


Nei binari di scalo di Ronta ce ne sono ancora,sono di costruzione Cocherill ,in linea sono state tolte durante la ricostruzione degli anni '90 ,altre traverse tipiche della Faentina erano quelle in biblocco di cemento con la parte centrale in ferro.
Giancarlo


Top
 Profilo  
 
 Oggetto del messaggio: Re: Traverse in ferro
MessaggioInviato: giovedì 18 luglio 2013, 15:42 
Non connesso

Iscritto il: giovedì 22 febbraio 2007, 22:36
Messaggi: 409
Località: Roma
Le travese in ferro(credo fossero in acciaio stampato a caldo)le ricordo su alcuni tratti della Roma Cassino(di sicuro nel tratto tra Colle Mattia e Palestrina e poi verso Ceprano).Credo fossero retaggio della Seconda Guerra Mondiale e di alcuni tratti a doppio binario armati con quello che c'era disponibile nel Dopoguerra. Comunque,su quella linea,non sopravvissero alla sua elettrificazione :D ! Le traverse metalliche erano utilizzate in Africa nell'armamento delle tratte costruite in quei Paesi da noi italiani....Il ferro era indigesto alle "termiti" :lol:

Max RTVT


Top
 Profilo  
 
 Oggetto del messaggio: Re: Traverse in ferro
MessaggioInviato: giovedì 18 luglio 2013, 16:26 
Non connesso

Iscritto il: mercoledì 20 settembre 2006, 20:44
Messaggi: 6365
Località: Sorbolo di Sorbolo Mezzani (PR)
Da che ricordo, a parte i paesi dove l'acciaio abbonda/va, l'uso delle traverse in ferro, e con quella forma, migliora le prestazioni del binario sia contenendo la ghiaia sotto la traversa, sia incastrandosi nella massicciata.
A parte le migliori prestazioni in durata rispetto legno.
Magari durante la ricostruzione postbellica, che fu effettuata anche con materiali "offerti" da paesi stranieri, quelle traverse erano quelle a disposizione.
Potrebbe essere che le traverse in acciaio in Porrettana e Faentina, fossero usate nei tratti più acclivi e critici per risolvere rapidamente il problema geometria del binario.
Oggi si è ritornati sul principio, installando delle alette alle traverse, o le traverse ad "esse" della Merano-Malles.


Top
 Profilo  
 
 Oggetto del messaggio: Re: Traverse in ferro
MessaggioInviato: giovedì 18 luglio 2013, 17:49 
Non connesso

Iscritto il: lunedì 16 gennaio 2006, 17:07
Messaggi: 921
Località: Viareggio
Marco le traverse sulla Merano Malles sono ad Y non ad S.
Carlo Pezzini


Top
 Profilo  
 
 Oggetto del messaggio: Re: Traverse in ferro
MessaggioInviato: giovedì 18 luglio 2013, 17:53 
Non connesso

Iscritto il: mercoledì 20 settembre 2006, 20:44
Messaggi: 6365
Località: Sorbolo di Sorbolo Mezzani (PR)
CARLO PEZZINI ha scritto:
Marco le traverse sulla Merano Malles sono ad Y non ad S.
Carlo Pezzini


Giusto, la memoria ha fatto cilecca :(


Top
 Profilo  
 
 Oggetto del messaggio: Re: Traverse in ferro
MessaggioInviato: giovedì 18 luglio 2013, 19:51 
Non connesso

Iscritto il: martedì 27 giugno 2006, 17:48
Messaggi: 1777
Località: Granducato di Toscana
marchetti625 ha scritto:
Le traverse metalliche erano utilizzate in Africa nell'armamento delle tratte costruite in quei Paesi da noi italiani....Il ferro era indigesto alle "termiti" :lol:

Max RTVT


Confermo , Ghinda ( Eritrea ) 2006

Giancarlo


Allegati:
Commento file: Stazione di Ghinda 2006
PICT1933.JPG
PICT1933.JPG [ 172.5 KiB | Osservato 7603 volte ]
Top
 Profilo  
 
 Oggetto del messaggio: Re: Traverse in ferro
MessaggioInviato: giovedì 18 luglio 2013, 21:24 
Non connesso

Nome: Paolo Bartolozzi
Iscritto il: venerdì 13 gennaio 2006, 15:34
Messaggi: 3397
Località: Dicomano (FI)
Libli II ha scritto:
adria express ha scritto:
Anche sulla Faentina nel tratto di valico vennero usate in sede di ricostruzione postbellica.


Nei binari di scalo di Ronta ce ne sono ancora,sono di costruzione Cocherill ,in linea sono state tolte durante la ricostruzione degli anni '90 ,altre traverse tipiche della Faentina erano quelle in biblocco di cemento con la parte centrale in ferro.
Giancarlo

Confermo!
Le abbiamo viste insieme e ho verificato anche recentemente che sono ancora presenti.

paolo.


Top
 Profilo  
 
 Oggetto del messaggio: Re: Traverse in ferro
MessaggioInviato: venerdì 19 luglio 2013, 9:17 
Non connesso

Iscritto il: giovedì 22 febbraio 2007, 22:36
Messaggi: 409
Località: Roma
Quando scrivi "biblocco"ti riferisci al tipo francese e quindi sono di costruzione recente,oppure sono "ante "Seconda Guerra Mondiale? :roll: Mi interessa,se la conosci,la data di costruzione di quelle in ferro....Dovrebbe essere impressa accanto al nome del costruttore!

Ciao e grazie!

Max RTVT


Top
 Profilo  
 
 Oggetto del messaggio: Re: Traverse in ferro
MessaggioInviato: venerdì 19 luglio 2013, 11:26 
Non connesso

Iscritto il: martedì 7 febbraio 2006, 9:37
Messaggi: 1428
Mi sembra di ricordare una foto di una Aln 880 (credo il famoso treno fotografico in faentina) su un tratto di binario con traverse in ferro, comparsa su qualche rivista ormai 20 anni fa.
Dove? Al momento non ho proprio possibilità di verificarlo!

Antonio


Top
 Profilo  
 
 Oggetto del messaggio: Re: Traverse in ferro
MessaggioInviato: venerdì 19 luglio 2013, 15:09 
Non connesso
Avatar utente

Iscritto il: lunedì 16 gennaio 2006, 10:40
Messaggi: 2425
Località: Vigonovo
CARLO PEZZINI ha scritto:
Da quello che so io, l'uso delle traverse in metallo, in italia sulla rete FS non era frequente, in genere si trovavano sulle linee dei territori ex austriaci o nei depositi locomotive in qualche binario di servizio.


Scambi di fabbricazione austriaca a Primolano.


Top
 Profilo  
 
Visualizza ultimi messaggi:  Ordina per  
Apri un nuovo argomento Rispondi all’argomento  [ 21 messaggi ]  Vai alla pagina 1, 2  Prossimo

Tutti gli orari sono UTC + 1 ora [ ora legale ]


Chi c’è in linea

Visitano il forum: Nessuno e 6 ospiti


Non puoi aprire nuovi argomenti
Non puoi rispondere negli argomenti
Non puoi modificare i tuoi messaggi
Non puoi cancellare i tuoi messaggi
Non puoi inviare allegati

Cerca per:
Vai a:  
banner_piko

Duegi Editrice - Via Stazione 10, 35031 Abano Terme (PD). Italy - Tel. 049.711.363 - Fax 049.862.60.77 - duegi@duegieditrice.it - shop@duegieditrice.it
Direttore editoriale: Luigi Cantamessa - Amministratore unico: Federico Mogioni - Direttore responsabile: Pietro Fattori.
Registro Operatori della Comunicazione n° 37957. Partita iva IT 05448560283 Tutti i diritti riservati Duegi Editrice Srl